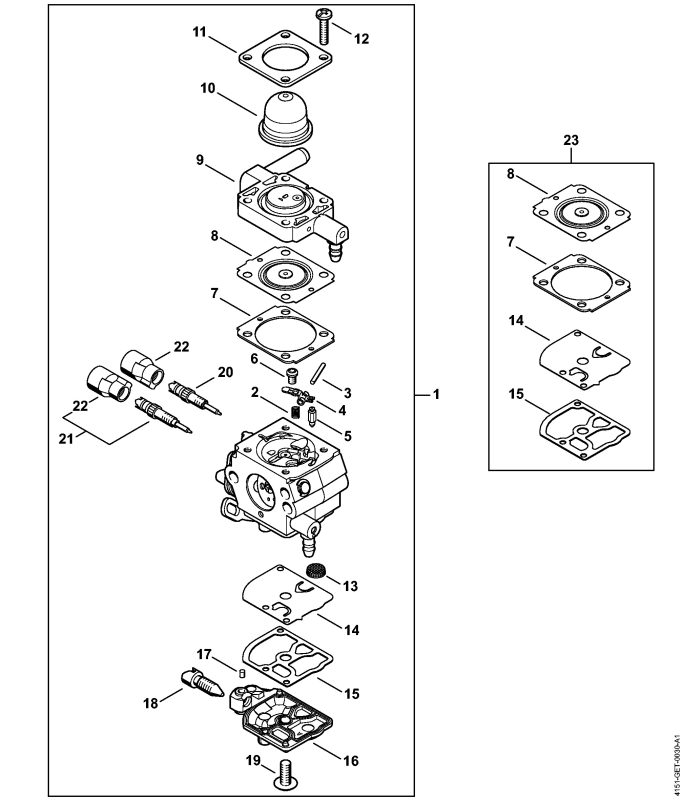
Početna / Stihl deo / FR 235 Karburator 4151-02 Nazad FR 235 Karburator 4151-02 1 2 3 4 5 6 7 8 9 10 11 12 13 14 15 16 17 18 19 20 21 22 23 1 Naziv: Karburator 4151/02 Sadrži: 2 - 22 SKU: 41511200602 Cena 9600 RSD Količina - + Dodaj u korpu 2 Naziv: Opruga SKU: 41281223000 3 Naziv: Osovina SKU: 11201219200 4 Naziv: Ulazna regulaciona poluga SKU: 11251215000 Cena 238.8 RSD Količina - + Dodaj u korpu 5 Naziv: Ulazna igla SKU: Z000018Z000 6 Naziv: Zavrtanj SKU: 00001227101 7 Naziv: Zaptivka regulatora SKU: 11411290900 8 Naziv: Regulaciona membrana SKU: Z000015A011 Cena 1092 RSD Količina - + Dodaj u korpu 9 Naziv: Osnovna ploča pumpe za gorivo SKU: Z010056A000 10 Naziv: Kapa SKU: 42261212700 Cena 408 RSD Količina - + Dodaj u korpu 11 Naziv: Završni poklopac SKU: 41401210800 12 Naziv: Zavrtanj SKU: 42411227100 13 Naziv: Sito SKU: 11231217800 Cena 234 RSD Količina - + Dodaj u korpu 14 Naziv: Membrana pumpe SKU: 11291214800 Cena 1092 RSD Količina - + Dodaj u korpu 15 Naziv: Zaptivka pumpe SKU: 11231290905 16 Naziv: Završni poklopac SKU: 41341210802 17 Naziv: Lopta SKU: 11251224200 18 Naziv: Zavrtanj za minimalni otvor leptira SKU: 11461226200 19 Naziv: Zavrtanj sa sočivastom upuštenom glavom SKU: 11201227800 20 Naziv: Glavni regulacioni zavrtanj SKU: 42411226702 21 Naziv: Zavrtanj za regulaciju praznog hoda Sadrži: 22 SKU: 41511206801 22 Naziv: Kapa SKU: 42291212701 23 Naziv: Set zaptivki i membrana Sadrži: 7, 8, 14, 15 SKU: Z000003K006 Cena 2028 RSD Količina - + Dodaj u korpu Povezani delovi FR 235 Transportna zaštita FR 235 Sistem za paljenje, spojnica FR 235 Rukohvat FR 235 Rezervoar za gorivo
23 Naziv: Set zaptivki i membrana Sadrži: 7, 8, 14, 15 SKU: Z000003K006 Cena 2028 RSD Količina - + Dodaj u korpu